Jeep szabadalom
A Stellantis autós konszern két szabadalmi kérvényt is benyújtott, mindkettőt a hozzájuk tartozó Jeep nevében. Az ötletek szorosan kapcsolódnak az off-road autózáshoz és a márka szabadidős személyiségéhez. Hogy pontosan mik is ezek a szabadalmak? Az egyik ahhoz a tetőre szerelhető sátorhoz kötődik, amit kifejezetten a Jeep Wranglerhöz terveztek, a másik ötlet pedig egy terepen is használható utánfutóhoz, amit teljes egészében Jeep-elemekből szereltek össze.

Bár a legtöbb, harmadik féltől származó tetősátrak esetében szükség van valamiféle extra szerkezetre - mint például egy tetőcsomagtartó -, hogy az alvóhelyet fel lehessen szerelni, a Jeep szabadalma elegáns megoldást kínál. Ahelyett, hogy a tetőhöz kéne csavarozni a sátrat, a szerkezetet a Jeep leszerelhető tetőpaneljeinek helyébe lehet beleerősíteni. A dizájn elég ötletes, és azt is megelőzi, hogy a sátor magasabbra kerüljön a kelleténél, sőt, a túrázók egyenesen az autóból mászhatnak be a sátorba és nem kell kiszállniuk. Ezzel megelőzhetőek az esetleges leesések, vagy az, hogy roncsolódjon az autó a bakancsok alatt. A dizájn emellett a fogyasztást is csökkentheti, mivel plusz súly sem kerül az autóra, mivel sem tetőcsomagtartóra, sem egyéb elemre nincs szükség.
Amikor teljesen fel van állítva, a sátor széles árnyékot is vet, ami a napsugarak, de az eső ellen is hatásos védekezés lehet. Sőt, a sátrat meg is lehet toldani, hogy szélesebb legyen, ezáltal nagyobb hely legyen belül.

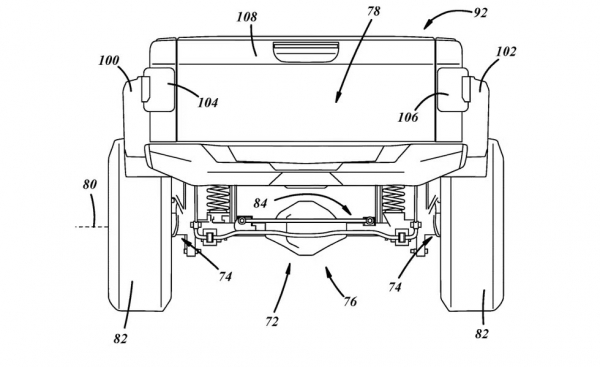
A Jeep másik szabadalma talán még érdekesebbnek tűnik. Az ötlet a Gladiator pickuphoz köthető leginkább, de a dokumentumok szerint más modellel is kompatibilis lehet. A szabadalom neve "Off-road használatú utánfutó" és teljes egészében Jeep modellek alkatrészeiből áll. Ilyesmivel már korábban is próbálkoztak gyártók, autómániások ezrei pedig átlagos autók végeiből készítettek trailereket.

Ami a Jeep szabadalmát illeti, az ötlet nem rossz, hiszen már meglévő alkatrészekből raknának össze valami újat. Az Amerikai Szabadalmi és Védjegyi Hivatal honlapján található képek és leírás alapján a Jeep tervei szerint felfüggesztést is egy már meglévő modelltől vették át. Sőt, a tengely és a kerekek is egyeznek a már gyártásban lévő Jeep modellekkel, így az utánfutó tényleg olyan lenne, mintha egy Jeep vontatná egy másik Jeep végét. Az ötlet apropóját a Jeep úgy indokolja, hogy az utánfutókat mindig aszfaltra és nem göröngyös vagy off-road terepre tervezik és ezt a rést töltené ki az új szabadalom.

Bár egy szabadalom egyáltalán nem jelenti azt, hogy ezek az ötletek meg is jelennek majd a Jeep kínálatában, szerintem mindig érdekes látni, milyen újdonságokkal hozakodik elő egy-egy gyártó és hogyan próbálják meg kényelmesebbé vagy hasznosabbá tenni ilyen apró ötletekkel és finomításokkal az autózást.
Képek forrása: USPTO (Amerikai Szabadalmi és Védjegyi Hivatal)